专利如何准确地理解含有功能性限定的权利要求的保护范围?

案例要点


  如何准确地理解含有功能性限定的权利要求的保护范围,对于专利审查和侵权判定有着重要的意义。本文从一件无效宣告请求出发,探讨如何准确理解功能性限定的权利要求的保护范围,所述理解方式力求既不会局限于说明书的记载而缩小权利要求的保护范围,也不会脱离说明书的记载而机械地理解权利要求,更多地是强调权利要求保护范围的合理性,较好地平衡社会公众与专利权人双方的利益。



案情介绍


  某无效宣告请求涉及一种自行车座椅。根据专利说明书的记载,其发明目的是试图为骑车者提供舒适性和能量返回,降低摩擦和擦伤。



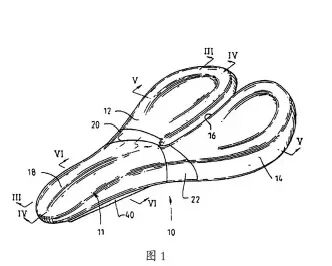
  如图1所示,自行车座椅的外壳11由柔性或弹性材料构成,包括第一和第二支承部分12、14、前部18和位于两个支承部分与前部之间的绞折20、22,两个支承部分之间可以具有使之相互分离的槽16,也可以如图2所示在槽中设有一柔性的桥接段,该桥接段不影响两个支承部分的运动;或者不具有槽,在两个支承部分之间设置一细窄的纵向绞折线,两个支承部分可以绕纵向绞折线彼此独立地运动;或者不具有槽,两个支承部分之间连续,但由于整体外壳的柔性而可独立地运动。就绞折20、22而言,绞折是前端部与两个支承部分之间的过渡区,可以由相较于前部和支承部分的材料更具有柔性或弹性的材料形成,还可以在厚度上具有变化。当骑行者蹬踏自行车时,两个支承部分的弧形运动对骑行者提供舒适的支承,并且由于绞折所提供的一般弹性作用或柔性,还将能量返回给使用者的身体,当骑行者运动时,所述的弹性作用或柔性趋于将两个支承部分返回到其起始位置。


  该专利的权利要求1如下:一种支承系统,包括用于容纳骑行者臀部的第一支承部分和第二支承部分,连接到第一和第二支承部分的前部;以及在第一和第二支承部分与前部之间的绞折,当骑行者坐在支承部分上并进行蹬踏运动时,该绞折允许第一和第二支承部分中的每一个经受基本独立的弧形运动,该弧形运动至少在基本垂直平面内具有一分量。


  对于权利要求1中的特征“该绞折允许第一和第二支承部分中的每一个经受基本独立的弧形运动,该弧形运动至少在基本垂直平面内具有一分量”,专利权人认为本专利的座椅需要有绞折,绞折的设置可以是在结构形状、材料或厚度上变化,绞折与两个支承部分之间的槽或等同结构一起才能实现本发明的技术效果;而请求人则认为在传统座椅中两个支承部分均可进行一定程度的独立弧形运动。


案例浅析


  对于权利要求1中的上述功能性限定,如果脱离说明书仅从权利要求书的字面上来理解,则所有能够实现该功能性限定的技术手段都在权利要求的保护范围内,那么如请求人所述,传统座椅中两个支承部分可以实现上述功能,因此传统座椅也在权利要求1的保护范围内。但是对于权利要求的理解并不能完全脱离说明书,从说明书来看,该专利要解决的技术问题是相对于传统的座椅,能够为骑车者提供舒适性和能量返回,降低摩擦和擦伤,而请求人所述的传统座椅虽然在一定程度上能够进行独立的弧形运动,但并不能解决本专利所要解决的技术问题,这也并非专利权人作出此项发明的本意,因此,不应该在权利要求的保护范围内。



  而根据该专利说明书的记载,为了解决专利所要解决的技术问题,两个支承部分之间可以具有使之相互分离的槽,也可以在槽中设有一柔性的桥接段等;绞折是前端部与两个支承部分之间的过渡区,其相较于前部和支承部分在结构形状、材料或厚度上具有变化,可见,说明书中给出了解决该专利所要解决的技术问题的多个具体技术手段。然而,如果严格依照说明书具体实施方式中记载的结构来理解上述功能性限定,则人为地缩小了权利要求的保护范围。事实上,本领域技术人员在阅读专利的说明书之后,可以认识到实现上述功能的具体结构并不限于说明书中记载的几种具体技术手段,因为,结合其所具备的技术常识可以知晓,要实现本专利权利要求1中所述的功能,只要存在一种结构使得当第一和第二支承部分中的一个部分受力时另一个部分的受力会相对于没有这种结构时的受力变小即可,即削弱另一个支承部分的受力,使两个支承部分相互的约束变小,减少两个支承部分之间的联系。至于权利要求1中的“绞折”,其只是两个支承部分的弧形运动的枢轴,该运动的枢轴也就是本专利中所述的过渡区,座椅在过渡区的结构、材料或厚度上的变化只是更利于两个支承部分产生独立的弧形运动,并不是使两个支承部分进行独立弧形运动的必要条件,也就是说,即使过渡区没有上述结构、材料或厚度上的变化,座椅的两个支承部分仍然可以进行独立的弧形运动。因此,对权利要求1中的功能性限定的合理理解是在第一和第二支承部分之间应当存在一种结构,该结构能够使第一和第二支承部分之间的约束变小,减少二者之间的联系。



  在该无效宣告请求中,合议组对请求人和专利权人的上述两种主张均未予以支持,而是站在本领域技术人员的角度,结合对专利说明书的理解,合理确定实现该功能的技术手段,同时该技术手段能够解决该专利所要解决的技术问题和达到专利所要实现的技术效果。这种理解方式结合了专利审查和司法实践中对于功能性限定的相关规定,既保护了社会公众的利益,也确保了专利权人的合法权益,更为客观、合理。


上一篇:APP名称与商标名称冲突商品与服务的判断下一篇:茅台商标申请放弃“国酒”又失“国宴”